MXU 250 S Quads / ATVFahrwerk
Pos
Menge
Artikelnr
Bezeichnung
Preis
Scheinwerfer
Tachometer
Lenker, Spiegel & Bowdenzüge
Hauptbremszylinder vorne & Bremsschläuche
Verkleidungen vorne
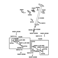
Lenkung
Räder vorne mit Bremse
Räder hinten mit Bremse
Sitz & Bordwerkzeug
Tank & Benzinhahn
Batterie
Verkleidungen hinten
Luftfilter
Auspuff
Hauptbremszylinder hinten, Fußbremse & Schaltung
Federbein, Querlenker rechts
Federbein, Querlenker links
Schwinge & Federbein hinten
Blinker vorne
Rücklicht
Elektrische Anlage & Schlüssel
Rahmen Chassis
Rahmenteile / Gepäckträger
Aufkleber & Hinweis - Schilder
Aufkleber & Lackstifte
Feststellbremse, geänderte Teile