Heroism 50 Fzg. bis 50 ccmFahrwerk
Pos
Menge
Artikelnr
Bezeichnung
Preis
Fahrzeugansicht
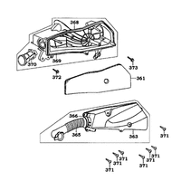
Artikelnr: 30245663
Position: 372
Teilenummer: 371_372
Menge: 1
Gesamtübersicht ET-Katalog
Artikelnr: 30245664
Position: 373
Teilenummer: 371_373
Menge: 1
Luftleitbleche & Lüfterabdeckung
Deckel Antrieb
Fliehkraftkupplung Hinterrad Antrieb
Scheinwerfer
Tachometer
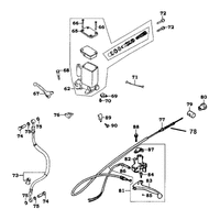
Lenker, Gaszug & Verkleidung
Hauptbremszylinder vorne & Bremszug hinten
Verkleidungen & Handschuhfach
Gabel & Stossdämpfer vorne
Vorderrad mit Bremse
Hinterrad mit Bremse
Sitz & Bordwerkzeug
Tank & Benzinhahn
Batterie
Hintere Verkleidungen & Helmbox
Luftfilter
Auspuff
Ständer & Kickstarterhebel
Stossdämpfer hinten
Blinker vorne
Rücklicht & Spritzschutz
Elektrische Anlage
Rahmen Chassis
Aufkleber & Lackstifte