Filly 50 Fzg. bis 50 ccmFahrwerk
Pos
Menge
Artikelnr
Bezeichnung
Preis
Fahrzeugansicht
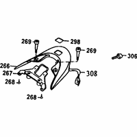
Artikelnr: 30245134
Position: 298
Teilenummer: 297_298
Menge: 1
Gesamtübersicht ET-Katalog
Artikelnr: 30245135
Position: 299
Teilenummer: 297_299
Menge: 1
Scheinwerfer
Tachometer
Griffe, Spiegel, Lenker & Lenkerverkleidungen
Bremshebel & Bremszüge
Verkleidungen & Trittbrett
Gabel & Kotflügel vorne
Vorderrad mit Bremse
Hinterrad mit Bremse
Sitzbank
Tank & Benzinhahn
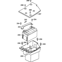
Batterie & Gehäuse
Hi. Verkleidungen, Helmbox & Schloss
Luftfilter & Gehäuse
Auspuff
Ständer & Kickstarterhebel
Stossdämpfer hinten
Gepäckträger & Zusatzbremslicht
Blinker vorne & Positionslicht
Rücklicht & Hinterradabdeckung
Elektrische Anlage & Schlossatz
Rahmen Chassis
Aufkleber & Lackstifte